NOTICIAS
Usted está aquí: Hogar » Noticias » enrutador cnc de 5 ejes » ¿Qué puede hacer una máquina CNC de 5 ejes?

¿Qué puede hacer una máquina CNC de 5 ejes?

Vistas:0     Autor:Editor del sitio     Hora de publicación: 2025-03-13      Origen:Sitio

Preguntar

facebook sharing button
twitter sharing button
line sharing button
wechat sharing button
linkedin sharing button
pinterest sharing button
whatsapp sharing button
sharethis sharing button

Introducción

¿Alguna vez te has preguntado qué puede hacer una máquina CNC de 5 ejes? Estas máquinas están transformando la forma en que las industrias crean piezas complejas.

En esta publicación, nos sumergiremos en la evolución de las máquinas CNC de 3 ejes a 5 ejes y su creciente importancia en la fabricación. Aprenderá cómo las máquinas CNC de 5 ejes son cambiadores de juego en la producción de piezas precisas e intrincadas.


Comprensión de las máquinas CNC de 5 ejes


¿Qué es una máquina CNC de 5 ejes??

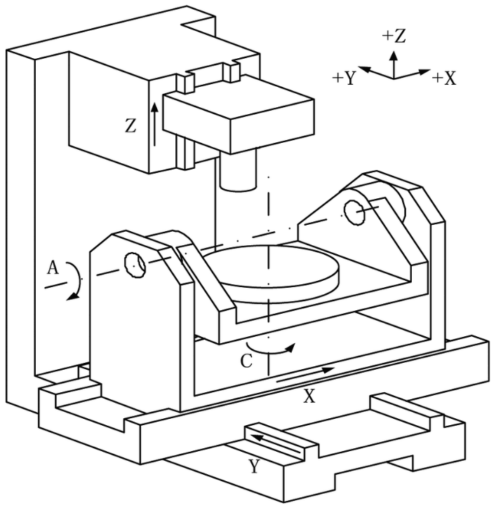
Una máquina CNC de 5 ejes es una herramienta de vanguardia utilizada para la fabricación precisa y compleja. A diferencia de las máquinas tradicionales de 3 ejes, un CNC de 5 ejes tiene cinco movimientos diferentes para controlar la herramienta de corte, dándole más flexibilidad y precisión.

  • Ejes x, y y z : estos son los ejes lineales, moviendo la herramienta a lo largo de la longitud, el ancho y la profundidad de la pieza de trabajo.

  • Ejes A y B : estos son ejes de rotación, permitiendo que la herramienta o la pieza de trabajo gire, permitiendo el mecanizado de ángulos y contornos complejos.

Esta capacidad de movimiento mejorada hace que la máquina CNC de 5 ejes sea ideal para crear piezas con intrincados detalles y geometrías complejas, esenciales para industrias como la fabricación de dispositivos aeroespaciales y médicos.


5CNC


¿Cómo funciona una máquina CNC de 5 ejes?

La operación de una máquina CNC de 5 ejes es posible gracias a un sofisticado software que controla cada movimiento con una precisión increíble. Combina movimientos lineales y rotacionales, lo que permite que la máquina se acerque a la pieza desde prácticamente cualquier ángulo.

El sistema funciona interpretando archivos de diseño creados con software CAD (diseño asistido por computadora). La máquina CNC sigue las trayectoria de herramientas generadas por este software, asegurando que cada movimiento se ejecute con precisión.

Ejemplos de operaciones que puede realizar una máquina CNC de 5 ejes incluyen:

  • Fresado complejo : creación de partes detalladas con ángulos y contornos precisos.

  • Drillación : Acceso a las áreas difíciles de alcanzar de la pieza sin ajustes manuales.

  • Grabado : producir diseños intrincados y texto con detalles nítidos.

En RBT Intelligent Equipment , utilizamos lo último en tecnología CNC de 5 ejes, lo que nos permite producir piezas y herramientas personalizadas para industrias que exigen diseños de alta precisión y complejos.


¿Qué tipos de productos se pueden hacer con una máquina CNC de 5 ejes?

Las máquinas CNC de 5 ejes son increíblemente versátiles y pueden crear una amplia gama de productos en diferentes industrias. Su capacidad de mecanizar precisamente formas y piezas complejas desde múltiples ángulos los hace ideales para la fabricación de alta precisión. A continuación se presentan algunos ejemplos clave de productos realizados con mecanizado CNC de 5 ejes.


Ejemplos de productos de la industria Beneficios clave
Automotor Impulsores del turbocompresor, componentes del motor Piezas de alta precisión con geometrías complejas.
Aeroespacial Cuchillas de turbina, componentes del motor Capacidad para cumplir con tolerancias estrictas y soportar alta presión.
Médico Implantes, herramientas quirúrgicas Personalización y alta precisión para componentes críticos de seguridad.
Electrónica de consumo Piezas de teléfono inteligente, tableros de circuito Piezas pequeñas e intrincadas con tolerancias estrechas.
Moldes personalizados Moldes de inyección, herramientas Moldes duraderos e intrincados para la producción en masa.
Arquitectónico y artístico Esculturas, elementos arquitectónicos Capacidad para crear diseños detallados y complejos.


Estas máquinas ofrecen una tremenda flexibilidad, lo que permite a los fabricantes crear todo, desde componentes automotrices de alto rendimiento hasta intrincadas esculturas artísticas. Ya sea en las industrias médicas, aeroespaciales o electrónicas de consumo, el mecanizado CNC de 5 ejes garantiza la precisión, la eficiencia y la innovación.


Los beneficios de usar una máquina CNC de 5 ejes

Las máquinas CNC de 5 ejes ofrecen varias ventajas clave, mejorando tanto la eficiencia como la calidad del producto en varias industrias. A continuación se muestra un desglose de los principales beneficios proporcionados por el mecanizado de 5 ejes.


Beneficio Descripción Ejemplo
Precisión y precisión mejoradas Capacidad para lograr una mayor precisión con cortes complejos y características detalladas. Cuchillas aeroespaciales de turbina, implantes médicos.
Tiempo de producción más rápido Los tiempos de configuración reducidos, permitiendo que se completen múltiples operaciones en una sola configuración. Piezas complejas como componentes automotrices.
Necesidad reducida de cambios de herramientas Elimina la necesidad de múltiples configuraciones y cambios de herramientas, reduciendo el tiempo de inactividad. Producción de alta eficiencia de moldes y piezas personalizados.
Acabado superficial mejorado y calidad El enfoque de ángulo múltiple garantiza mejores acabados superficiales, reduciendo las marcas de herramientas. Componentes aeroespaciales y médicos que requieren superficies impecables.


Al usar máquinas CNC de 5 ejes, los fabricantes pueden reducir significativamente el tiempo de producción, aumentar la precisión y mejorar la calidad general de sus productos. Estos beneficios hacen que el mecanizado CNC de 5 ejes sea una solución ideal para las industrias que requieren alta precisión y eficiencia, como la fabricación de dispositivos aeroespaciales, automotrices y médicos.


¿Qué materiales se pueden mecanizar con una máquina CNC de 5 ejes?

Las máquinas CNC de 5 ejes son altamente versátiles y pueden mecanizar una amplia gama de materiales, ofreciendo precisión y eficiencia en todas las industrias. A continuación se muestra una descripción general de los materiales comunes que se pueden mecanizar utilizando tecnología de 5 ejes.


de materiales Ejemplos Beneficios clave
Rieles Aluminio, acero, titanio Alta fuerza y ​​durabilidad; Ideal para piezas aeroespaciales, automotrices y médicas.
Plásticos y compuestos Compuestos, plásticos Ligero, duradero e ideal para industrias electrónicas, automotrices y médicas.
Madera y materiales blandos Madera, espuma, goma La elaboración de precisión de formas detalladas y diseños personalizados para muebles y prototipos.


Estos materiales se benefician de las capacidades únicas de las máquinas CNC de 5 ejes, que proporcionan mecanizado de precisión desde múltiples ángulos, lo que los hace adecuados incluso para las piezas más complejas y los diseños intrincados. Ya se trate de metales duros, compuestos livianos o materiales blandos, máquinas CNC de 5 ejes aseguran resultados consistentes y de alta calidad.


Cómo elegir la máquina CNC correcta de 5 ejes para sus necesidades


Factores a considerar al comprar una máquina CNC de 5 ejes

Al elegir una máquina CNC de 5 ejes, hay varios factores clave a considerar. Primero, piense en el tamaño y la configuración de la máquina. Debe caber en su espacio de trabajo y ser capaz de manejar las piezas que planea fabricar.

  • Tamaño : Considere las dimensiones de las piezas con las que trabajará. Asegúrese de que la máquina pueda acomodar sus componentes más grandes.

  • Capacidades : verifique si la máquina puede manejar los materiales que planea usar, como metales, plásticos o compuestos.

Además, es crucial evaluar el costo frente al beneficio según sus necesidades de producción. Una máquina de gama alta puede ofrecer funciones avanzadas, pero puede que no sea necesario si sus proyectos son menos complejos. Considere su presupuesto y el ROI esperado.


Elección entre máquinas CNC verticales y horizontales de 5 ejes

Las máquinas CNC de 5 ejes vienen en configuraciones verticales y horizontales. Cada tipo tiene sus fortalezas, por lo que es importante elegir el que mejor se ajuste a sus requisitos de producción.

  • Máquinas verticales : ideal para piezas y operaciones más pequeñas que requieren alta visibilidad y facilidad de acceso. Son excelentes para piezas que requieren precisión pero que no necesitan mucho movimiento en el eje Z.

  • Máquinas horizontales : mejor para piezas más grandes y pesadas. Excelentes en la producción de alto volumen, donde la pieza de trabajo necesita girar alrededor de múltiples ejes.

    Máquina de 5 eje para la industria aeroespacial



Futuro del mecanizado CNC de 5 ejes


Avances tecnológicos en máquinas CNC de 5 ejes

El futuro de las máquinas CNC de 5 ejes es emocionante, con varios avances tecnológicos en el horizonte. Se espera que innovaciones como la IA y la automatización jueguen un papel importante en la mejora de las capacidades de mecanizado. Estas tecnologías permitirán a las máquinas autooptimizar, mejorar la eficiencia y la precisión en tiempo real.

  • Integración de IA : AI ayudará a las máquinas a aprender de operaciones pasadas y ajustar su configuración para obtener resultados óptimos.

  • Automatización : la automatización reducirá el error humano, aumentará las velocidades de producción y permitirá un funcionamiento continuo.

Estos avances harán que las máquinas CNC de 5 ejes sean más inteligentes, más rápidas y más versátiles, empujando los límites de lo que es posible en la fabricación.


Aplicaciones e industrias en crecimiento

A medida que evoluciona la tecnología CNC de 5 ejes, se expandirá a nuevas industrias y aplicaciones. Por ejemplo, los sectores de impresión 3D y energía renovable se beneficiarán enormemente de la precisión y flexibilidad del mecanizado de 5 ejes.

  • Impresión 3D : las máquinas de 5 ejes desempeñarán un papel vital en la creación de moldes y piezas impresos en 3D complejos.

  • Energía renovable : la capacidad de producir componentes intrincados para turbinas eólicas, paneles solares y otras tecnologías de energía renovable aumentarán.


Conclusión

Las máquinas CNC de 5 ejes son esenciales en la fabricación moderna, que ofrecen una precisión y versatilidad incomparables. Su capacidad para manejar piezas complejas los hace invaluables en todas las industrias como aeroespacial, automotriz y atención médica.

A medida que la tecnología continúa avanzando, el potencial de las máquinas CNC de 5 ejes solo crecerá. En RBT Intelligent Equipment , estamos listos para ayudarlo a explorar el poder del mecanizado de 5 ejes para sus proyectos.


Preguntas frecuentes


P: ¿Qué industrias se benefician más del mecanizado CNC de 5 ejes?

R: Las industrias como Aeroespace, Automotive, Medical y Electronics se benefician más. Las máquinas CNC de 5 ejes pueden producir piezas complejas de alta precisión necesarias para estos sectores.


P: ¿Cómo se compara una máquina CNC de 5 ejes con una máquina CNC de 3 ejes en términos de precisión?

R: Las máquinas CNC de 5 ejes ofrecen una precisión superior al permitir que la herramienta de corte se acerque desde múltiples ángulos, logrando formas intrincadas que son difíciles para las máquinas de 3 ejes.


P: ¿Qué tipos de piezas se pueden hacer con una máquina CNC de 5 ejes?

R: Las máquinas CNC de 5 ejes pueden hacer componentes automotrices, piezas aeroespaciales, implantes médicos, electrónica de consumo, moldes personalizados y diseños arquitectónicos.


P: ¿Cuál es la diferencia entre las máquinas CNC de 5 ejes verticales y horizontales?

R: Las máquinas verticales de 5 ejes ofrecen un acceso y visibilidad más fácil, ideal para piezas más pequeñas, mientras que las máquinas horizontales de 5 ejes son mejores para piezas más grandes y más pesadas con rotaciones complejas.


P: ¿Cómo puede ayudar al mecanizado CNC de 5 ejes a reducir el tiempo de producción en la fabricación de piezas complejas?

R: Al permitir múltiples operaciones en una sola configuración, el mecanizado de 5 ejes reduce la necesidad de cambios en la herramienta y el rehuctivo, acelerando significativamente el tiempo de producción.


INFORMACIÓN DEL CONTACTO

Dirección: RBT Intelligent Park, No. 588, Tangtou Village, área de inversión de Taiwán, ciudad de Quanzhou, provincia de Fujian, China
Teléfono: +86-13860709162
Correo electrónico: rbt006@rbt-robot.com

ENLACES RÁPIDOS

CATEGORÍAS

CONTACTANOS CONSULTAR AHORA
Derechos de autor 2023 FUJIAN RBT INTELLIGENT EQUIPMENT CO.,LTD. SItemap | política de privacidad | Con apoyo de Leadong.